Solidwork 2014共用草圖

在Inventor裡有一項功能叫做『共用草圖』,意思是多個特徵皆使用同一個草圖來產生特徵,這樣的功能使你不需要繁複的建立新草圖,對於有些限制條件互相影響的形狀也不需再重新限制多次。而在Solidwork其實也有這樣的功能哦!

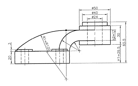
接下來我們以基礎零件506當範例:
 

如上圖所示,兩個肋與主體有相切相交的限制條件,因此我們由一張草圖將大致輪廓一併繪製。

一、 建立草圖1,畫出主體輪廓。
二、 點選伸長特徵,選擇草圖1,長出矩形主體。

三、 接著點選草圖1,再點特徵,此時另一個特徵就能與STEP2的特徵分享草圖,此順序前後不分,也可先點選特徵在點選草圖。

共用草圖的草圖圖示會出現手掌圖示:

四、 接著如法炮製,以草圖1與伸長特徵產出另一個肋。

五、 共用草圖不限於同一種特徵方式,前三個步驟皆為伸長,接著我們使用同一張草圖做旋轉特徵。

六、 大致上的主體已經在Step 5完成了,接著再將其餘特徵產基礎506就完成囉!

使用共用草圖不需要每做一個特徵,就必須重新投影或者限制條件,一張圖可供多個特徵使用,是不是簡單又節省時間是不是很方便呢!

以上是關於「Solidwork 2014共用草圖」的好用方法,
這麼實用的小撇步,您一定要學會喔!

- 回314期電子報主頁 -

財團法人中華民國電腦技能基金會版權所有,未經確認授權,嚴禁轉貼節錄
 TEL:02-2577-8806 ‧ FAX:02-2577-8135 服務信箱: [email protected]